Mercury 70 Hp Outboard Manual

Force 70 Hp Outboard Manual Pdf. Yamaha 70 Hp Outboard Service Manual The manual also provides safety measures and special remarks for dangerous work, ensuring the personal safety of individuals carrying out the work This factory service repair manual is the same type of manual used by professional mechanics and DIY enthusiasts

Force 125 hp 4 cyl 2stroke 19841989 Service Manual Download Man...
Force 125 hp 4 cyl 2stroke 19841989 Service Manual Download Man... from www.tradebit.com

HP 70hp Model # from-SN# Owner Manual Parts Manual Service Manual; 1991: 70: 706F91B 706X91B 706A91B 706P91B Publication date 1997 Topics Outboard motors -- Maintenance and repair -- Handbooks, manuals, etc

Force 125 hp 4 cyl 2stroke 19841989 Service Manual Download Man...

1966-1984 Chrysler 3.5-140 Hp and 1984-1988 Force 4-125 Hp Service Repair Manual Download Now; Force Outboard 70 hp 70hp 3 cyl 2-stroke 1991-1993 Factory Service Repair. Pdf_module_version 0.0.23 Ppi 360 Rcs_key 24143 Republisher_date 20230704142346. 1991 Force 70HP Outboard Boat Motor Service and Repair Manual # OB4589 70HP - 706F91B, 706X91B, 706A91B, 706P91B, 708F91B, 708A91B, 708P91B, 706F91C, 706X91C, 708F91C, 708A91C, 708P91C .pdf download

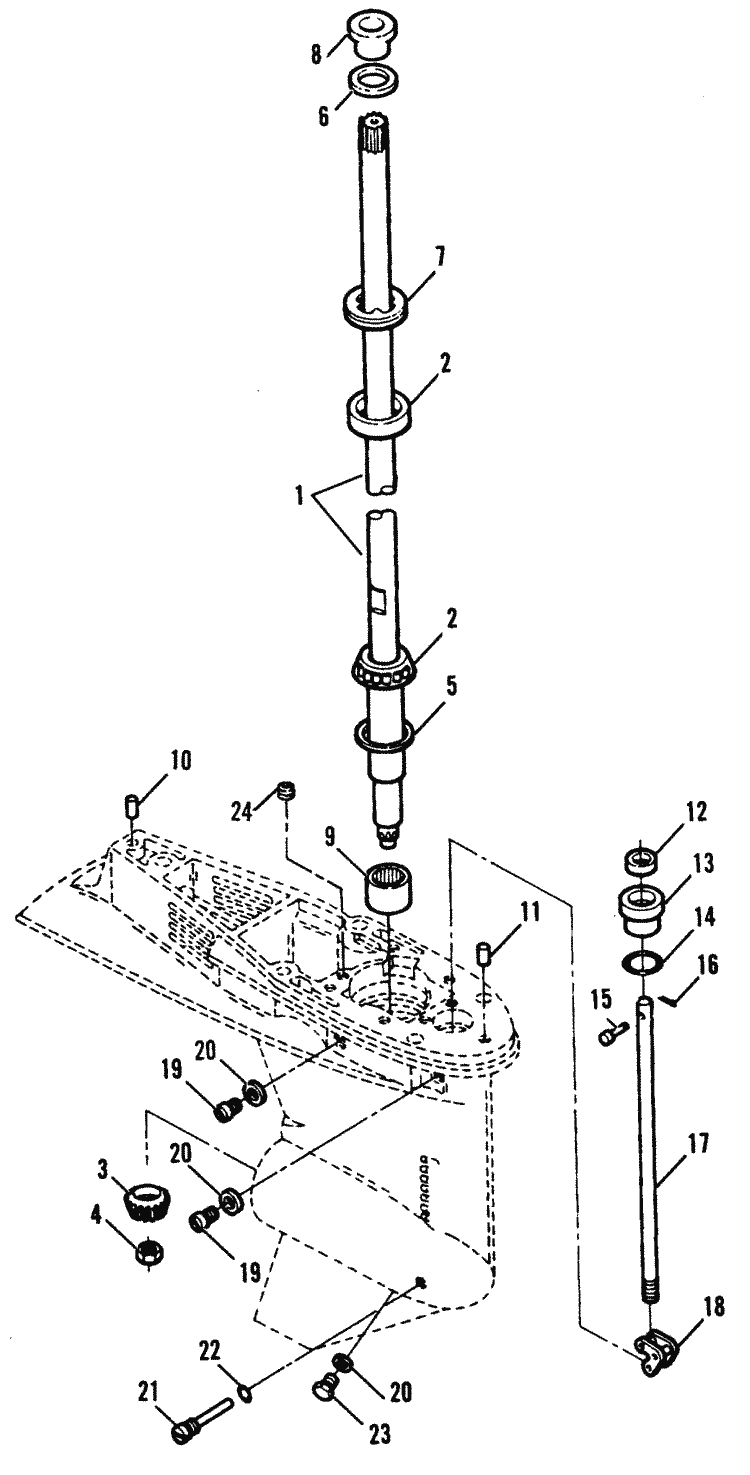
[DIAGRAM] 1992 Force 70 Hp Outboard Motor Diagram Wiring. Publication date 1997 Topics Outboard motors -- Maintenance and repair -- Handbooks, manuals, etc Pdf_module_version 0.0.23 Ppi 360 Rcs_key 24143 Republisher_date 20230704142346.

Evinrude Outboard Manual 70HP 75HP models 1978 Shop OUTBOARD. This factory service repair manual is the same type of manual used by professional mechanics and DIY enthusiasts Force Outboard 85 hp 85hp 3 cyl 2-stroke 1984-1991 Factory Service Repair Manual PDF Download Now; Force Outboard 70 hp 70hp 3 cyl 2-stroke 1991-1993 Factory Service